Passer au contenu principal Passer à la recherche Passer à la navigation principale
Menu

ROSI Plafonnier

Description
ROSI
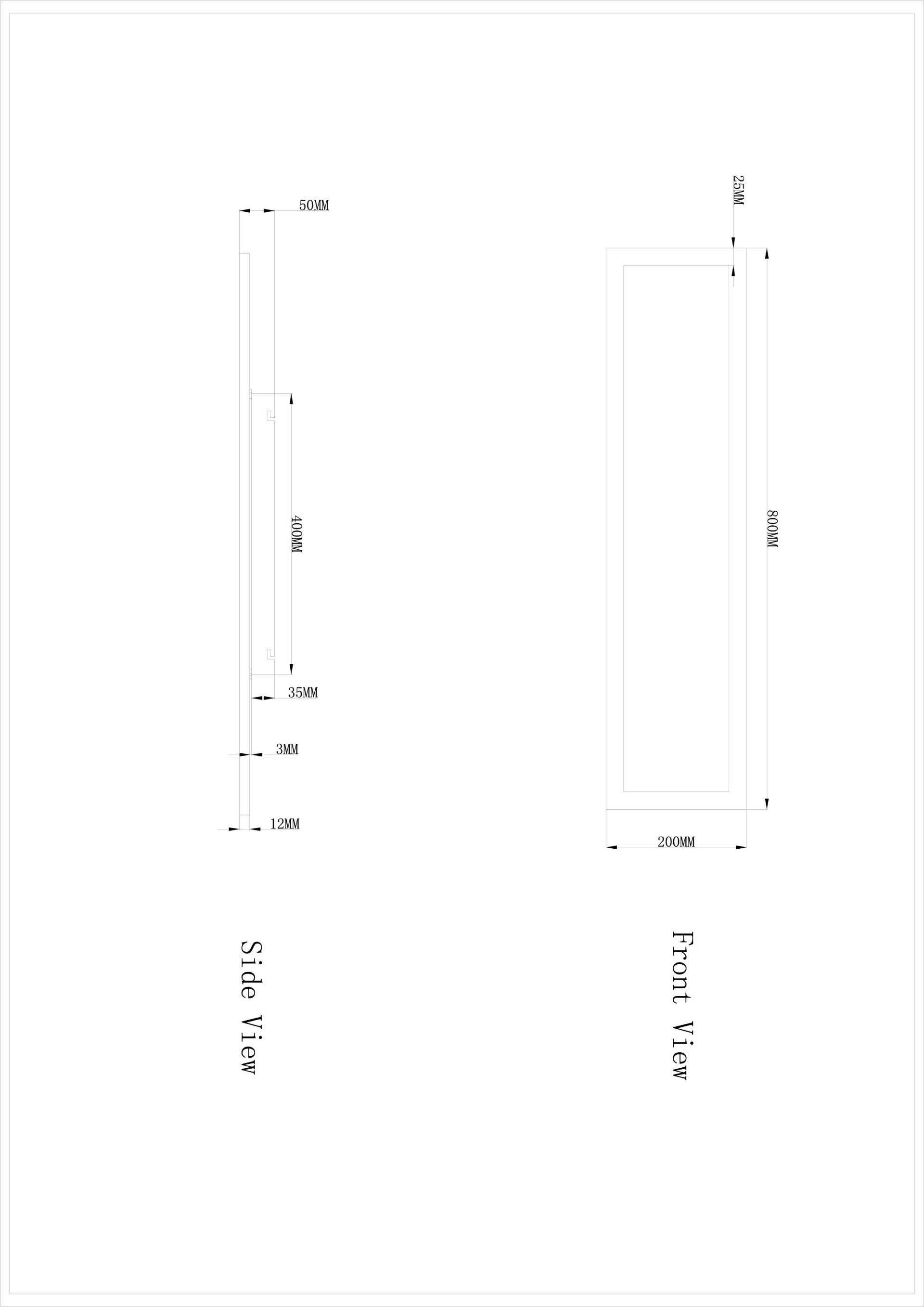
Moderne, fonctionnel et puissant. Ce sont les caractéristiques de performance de ce plafonnier plat rectangulaire (80 x 20cm). Faite d’aluminium blanc et d’acrylique opale, la LED incluse fournit un fort 2700 lumens avec une agréable couleur de lumière blanche chaude de 3000K. La particularité de ce plafonnier est qu’il convient à la fois à la construction et à l’installation. Cuisine, salon ou bureau, ce plafonnier s’adapte partout.

Les caractéristiques

Largeur
200 mm
Hauteur
55 mm
Longueur
800 mm
Couleur
blanc, opale
Matériel
Acrylique, aluminium
GTIN/EAN :
9007371379675

Détails techniques

Ampoule
LED
Ampoule inclue
Oui
Classe de protection
2
Consommation électrique
40 Watt
Couleur lumineuse
3000 Kelvin
Degré de protection
IP20
Durée de vie
30000 h
Lumen (effectif)
1 x 2700 Lumen
Lumen (source)
1 x 4650 Lumen
Tension
230 Volt
Mode d'emploi
Disposition des boîtes
Consignes de sécurité
Images du produit
Ignorer la galerie de produits

Famille de produits et produits similaires

54 %
ROSI
41604D2
en stock
Il s’agit d’un simple plafonnier LED de la série Rosi. Il se présente sous la forme d’un panneau et est un polyvalent pratique. En raison de sa conception simple, il peut être utilisé de diverses manières, que ce soit dans une chambre à coucher ou un couloir. Le plafonnier est en aluminium blanc et au fond, il a un couvercle en acrylique. En conséquence, la lumière est répartie uniformément dans toute la pièce. La lampe a une ampoule LED de 30 watts incluse et fournit 2400 lumens de lumière forte. À une température de couleur de 3000K, le luminaire reproduit une lumière blanche agréablement chaude. Le plafonnier a une longueur et une largeur de 45x45cm.

54,99 €* 119,99 €*
23 %
ROSI
41604D4F
en stock
Il s’agit d’un plafonnier simple, de la série de production Rosi. Il se présente sous la forme d’un panneau et est un polyvalent pratique. En raison de sa conception simple, il peut être utilisé de diverses manières, que ce soit dans une chambre à coucher ou un couloir. La lampe a une longueur de 80cm et une largeur de 5cm. L’élément de plafond est en aluminium blanc et en bas, la lampe a un couvercle, qui répartit la lumière uniformément dans la pièce. Avec la télécommande fournie, vous pouvez modifier la température de couleur et la fixer. Vous pouvez également atténuer la lumière. La lampe a une ampoule LED de 40 watts incluse et fournit 3200 lumens de lumière forte. Vous pouvez également très bien combiner cet article avec d’autres produits de la série.

114,99 €* 149,99 €*
25 %
ROSI
41604D5F
en stock
Il s’agit d’un plafonnier simple, de la série de production Rosi. Il se présente sous la forme d’un panneau et est un polyvalent pratique. En raison de sa conception simple, il peut être utilisé de diverses manières, que ce soit dans une chambre à coucher ou un couloir. La lampe a une longueur de 120cm et une largeur de 30cm. L’élément de plafond est en aluminium blanc et en bas, la lampe a un couvercle, qui répartit la lumière uniformément dans la pièce. Avec la télécommande fournie, vous pouvez modifier la température de couleur et la fixer. Vous pouvez également atténuer la lumière. La lampe a une ampoule LED de 40 watts incluse et fournit 3200 lumens de lumière forte. Vous pouvez également très bien combiner cet article avec d’autres produits de la série.

149,99 €* 199,99 €*
57 %
PAULA
41605-18
en stock
Ce plafonnier simple et de première classe de la série Paula peut être très bien combiné dans de nombreux styles d’ameublement. La lampe est plutôt discrète et intemporelle, le cadre en aluminium et le couvercle en plastique sont blancs. En raison de la couverture et de la température de couleur de 3000K, la lumière a l’air agréable et confortable. Le plafonnier a une ampoule LED de 18 Watts incluse et fournit 1600lumens de forte lumière. La lampe a un diamètre de 26cm. Avec d’autres modèles de cette série, vous pouvez embellir davantage l’image de votre habitat.

14,99 €* 34,99 €*
51 %
PAULA
41605-22
en stock
Si vous êtes à la recherche d’un plafonnier simple et de première classe, vous le trouverez dans le plafonnier Paula. Leur apparence est plutôt discrète et simple, le cadre en aluminium et le couvercle en plastique sont blancs. Mais l’apparence subtile de ce luminaire signifie essentiellement qu’il peut être utilisé n’importe où. Le luminaire a un diamètre de 25cm et dispose d’une ampoule LED intégrée de 22 watts. Le plafonnier LED fournit un total de 1900 lumens de lumière forte et reproduit une température de couleur blanche chaude de 3000K. Avec d’autres modèles de cette série, vous pouvez embellir davantage l’image de votre habitat.

21,99 €* 44,99 €*
50 %
PAULA
41605-6
en stock
Il s’agit d’un plafonnier simple et de première classe, de la série Paula. Leur look s’avère discret et intemporel, tant le cadre en aluminium que le couvercle en plastique sont blancs, créant un look très harmonieux. Au-dessus de l’ampoule LED 6Watt incluse se trouve un couvercle blanc, de sorte que la couleur de la lumière 3000K semble très agréable. Le luminaire a une intensité lumineuse de 450 lumens. Le plafonnier a un diamètre de 12cm et une hauteur de 4cm. Cependant, l’apparence discrète de cette lampe signifie essentiellement que Paula peut être utilisée n’importe où. Avec d’autres modèles de cette série, vous pouvez embellir davantage l’image de votre habitat.

8,99 €* 17,99 €*
55 %
SVENJA
41606-18
en stock
Ce plafonnier carré (23 x 23 cm) en plastique fait partie de la série SVENJA. La fenêtre de visualisation opale permet à votre pièce de briller dans 1600 lumens de forte lumière. Avec l’ampoule LED incluse (18W), la pièce brille dans une lumière agréablement chaude de 3000K. En raison de son charme neutre, cette lampe peut être utilisée universellement dans différentes pièces de votre maison. Avec d’autres modèles de cette série, vous pouvez embellir davantage l’image de votre habitat.

17,99 €* 39,99 €*
Stop snow
Speech Bubble Icon
Telephone Icon
Contact
Support Icon
Assistance
Mail Icon
Newsletter